It’s tough to get a lock on what it means to be cool. Think back with me, if you were alive then, to the world of 2002. Pretty wild time to be alive! The nation was in the grips of islamophobic post-911 paranoia, the winter Olympics were held in Utah, and I guess people were walking around dressed like this guy:

I was pretty out of touch in 2002, but I don’t think I’d have rated this guy as super cool. But one point in his favor, which we’ll get into more in a bit, is his plenitude and variety of facial piercings. This is a patent about frameless glasses attaching to body piercing studs, so consider this your body horror trigger warning.
First, let’s zoom in a bit.

At this distance, you’ll notice that there’s nothing hooking those glasses over his ears. They are suspended there on his face. Now, in any other context you would be forgiven for assuming that these glasses are of the pince-nez style, being held onto the bridge of his nose by a spring or some other form of compression. But while pince-nez glasses are pretty awesome, this guy has a more daring fashion statement to make.

As you can see from this view, a pierced nose bridge stud 24 passes through a piercing at the bridge of this unlikely punk’s nose. The lenses are attached to the stud 24 by flexible c-clips 21, which suggest the ability to break off in case the user runs into a door frame or forgets what they’re wearing and tries to dramatically remove their glasses in a courtroom. That said, the patent provides other options, such as a rivet or compression clip, in case you would prefer a stronger, more terrifying means of attachment.
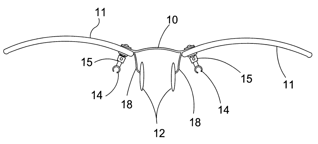
But that’s not all! The patent also illustrates other points of attachment:

Attachment at lateral eyebrow piercings.

Attachment at medial eyebrow piercings.
I haven’t been able to find any sign of these being sold, but I did find reports of a competitor! Based on an archive of their mid-aughts website, they look like they were directly infringing this patent. The webpage went offline in 2014 after years of very sparse updates, so I guess they never made it big.
That said, the patent finally expired last year, meaning anyone can make piercing glasses now! As someone with transhumanist and cyberpunk leanings, I find the idea of functional body modifications intriguing, but I’d personally prefer it if they were less easily ripped out.
