Alarm clock technology is old as heck, so we as a society have centuries of experience with turning off the alarm and going back to sleep.
Month: January 2022
You’ve heard of cupping, right?
The idea is that you apply suction to the body. The vacuum sucks the person's skin up into the cup, causing bruising. And... health?
The E-Meter Patents
If you've spent much time in New York City, you have run into the Church of Scientology offering their "free stress tests." It's worth doing, if you have a few minutes, to see what they're all about.
It’s cold — let’s make a weird mermaid!
We patent attorneys are not typically selected for our skill in depicting the human form.
The Copyright on “I Have a Dream”
Permit me to take a small detour from our regularly scheduled patent nonsense to veer into a different IP domain. When the Reverend Martin Luther King Jr. gave his "I Have a Dream" speech, it was in a much different copyright regime than what we currently live under. Under the present law, all you need … Continue reading The Copyright on “I Have a Dream”
The EM Drive
The "EM Drive" was a proposed closed-system reactionless thruster. For those of you without physics degrees, that's in the category of "big fucking deals," up there with cold fusion, room-temperature superconductors, and unicorns.
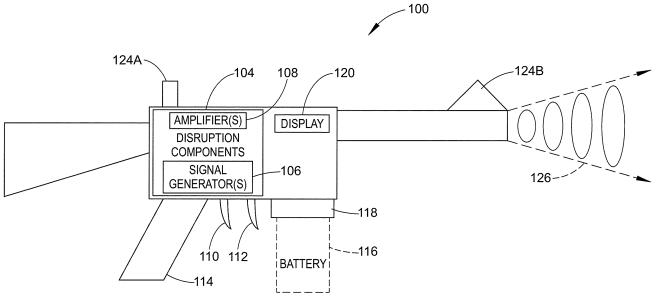
The Anti-Drone Ray Gun
I feel a surge of irrational anger every time I see a drone flying around my neighborhood.
Instant Snowman – Just Add Snow
Reporting in from the U.S. Northeast, we're getting a big pile of snow dumped on us right now. To put off clearing the driveway, I thought I'd look into snowman patents. Take a guess, how many snowman patents do you think there are? Oh boy, there are a whole lot. A lot of them are … Continue reading Instant Snowman – Just Add Snow
The Banana Protective Device
"Necessity is the mother of invention" has a corollary: Strange needs beget strange inventions.








