Just logging back on to mark the end of a particular legal arc. Over the course of this blog I tracked how Copyright law was addressing the rapidly changing capabilities of generative AI models. You can see those posts at The Robot Authors and Return of the Robot Authors. To summarize, the Copyright Office decided … Continue reading Demise of the Robot Authors
Author: unmakeme
The Radium Emanations
They say a little knowledge is a dangerous thing.
Orgone
Orgone is one of a panoply of kooky pseudoscientific energies that can purportedly be used for... anything!
The Trademark Letter of Protest
This is a tool anyone can use to frustrate a company's attempt to get a trademark registration.
A Series on Immortality – Part 3
Some say the company failed because of COVID. I suggest that maybe it's because it was peddling nonsense and run by a crank.
The Bolt-on Spectacles
TW: Mild body horror. What to do with those neglected facial piercings.
Copy That AI!
How the gap in copyright law for AI-generated works leaves an opening for direct action by the artists who stand to lose their jobs.
The Perkins Patent Tractors
This post is more of a historical exercise, recovering the 1796 patent for a particular patent remedy.
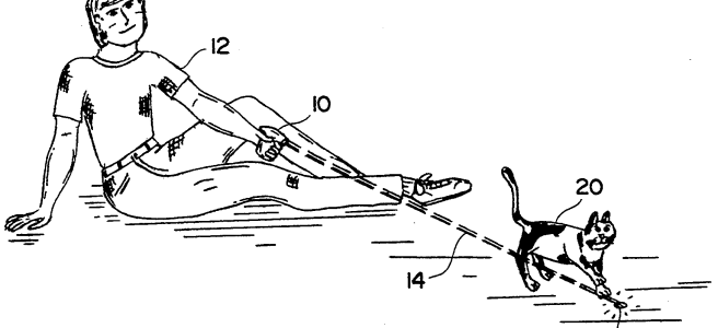
Cat Lasers
A post about cats. And about how you personally have infringed a patent. And how to read a patent claim.
An AI Crackpot Application
Whenever there's a new hot technology, be on the lookout for new hot garbage.









