"This permits a robot to cure cancer, fight a war, write software, read a book learn to drive a car, draw a picture or solve a complex math problem in less than one second."
Month: June 2022
Michael Jackson’s Anti-Grav Shoes
The anniversary of Michael Jackson's death is today, and his legacy remains a strange one. And so let me introduce you to Michael Jackson the inventor.
Birds — Some Might Not Be Real
Old meme, or seductively plausible conspiracy theory?
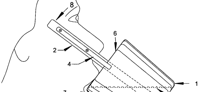
The Axe Straps
Excellent line drawings of musicians trying to look cool for their patents.
The Super-Stunner
Here's a way to liven up summertime water gun fights: Add electricity!
The Electric Hiccup Cure
If you've ever been (or known) a chronic hiccuper, you have peeked into the depths of hiccup cures.






