I say that I love all parts of the electromagnetic spectrum equally, but let’s be honest: Microwaves are clearly the best waves. Visible light is great and all, and my fellow radio nerds will all have their favorites, but microwaves run our WiFi and cook our food. What more could you ask for in a wave?
Of course, microwaves are also a great choice for directed energy weapons! Enter this “method and system for exterminating pests, weeds and pathogens”: https://patents.google.com/patent/US6647661B2/

What could possibly be more practical?
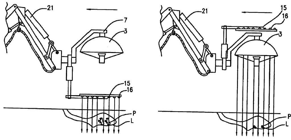
So here’s how it works. First you use a microwave scanner to somehow detect the presence of a target within the ground. Then you zap it using high-intensity microwaves. They included a picture of the process:

Scanning on the left, zapping on the right.
It isn’t clear to me how they expect to get the subterranean rodents without crisping the grass, but maybe those are acceptable losses in Bulgaria, where the invention originates. And the device has so many more uses than nuking moles in their homes. Consider all of the things you could zap!

F’in bridge…

F’in stump…

F’in pond…
You will be glad to hear that this patent has expired, so the only things stopping you from making one of your own are the limits of your ambition, your conscience, and the Federal Communications Commission.
