I usually associate dowsing with the American old west, with some wiley charlatan bilking people by wandering around with a weird stick to find water. But it turns out, dowsing has a long history of bilking people, and America has no special claim to this particular form of wackadoodlery! Here are some examples.
First up is the electric divining rod, which is potentially not complete bullshit:

This patent dates to 1883, with the concept that you use electromagnets to point to minerals. And if you happen to be looking for an enormous chunk of iron, that might even work! But magnetic fields fall off in strength very quickly, so it’s more likely that the device would be pointing to your belt buckle or zipper than to actual ferrous ore. So if you plan on using this, as a lawyer, I can only recommend that you do so naked.
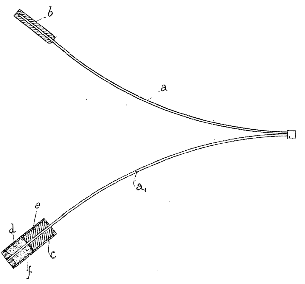
Here’s one that is billed as, “Matter detector, sensor and locator device and methods of operation“:

For this one, you put an object inside the conical “Faraday cage” at the bottom. Then, “electromagnetic radiation emitted by an object under investigation may be collected by antenna 101 having electromagnetic waves that have been carried by or reflected from interior walls of the Faraday cage to the antenna element 101.” USPP 2015/0253452, ¶43. The application supposes that every substance generates its own distinctive electromagnetic radiation, and that the antenna will then point at similar substances.
In their first attempt, the application was rejected for being inoperative, with a list of reasons being given. For example, the patent failed to describe how the object of interest generates a magnetic field nor how that field would actually have the asserted effects.
But that did not stop them! They filed a continuation-in-part, added a bunch of material, and somehow succeeded! The patent examiner, in allowing the claims, noted that they were directed to structures, and made “no comment on the claimed invention and its supporting disclosure regarding detecting, sensing and locating any particular object under investigation.”
I think that’s a pretty tough position to take, as any patented invention must be useful, and it does not appear that there is any credible utility for this thing. For all that I am usually derisive of patent attorneys who file applications for clearly impossible garbage, I’ll give them the credit they are due for getting this one through.
Most of the attempts to patent dowsing rods appear to tacitly acknowledge their uselessness. Rather than trying to get a utility patent, which might be rejected for being inoperative, they go for design patents that cover how the dowsing rod looks:

But you can find dowsing rods in patent offices around the world. Here’s the German WUENSCHELRUTE ZUR ERMITTLUNG VON ERDSTRAHLEN:

You’ve got your French Baguette sourcière sélective:

And even one from Korea:

So in case you ever wondered whether people still take dowsing seriously, now you have your answer. But considering you already knew that there are sincere flat-Earthers out there, you probably already could have guessed the answer to that.
