First of all, happy Veteran’s Day! This post has nothing to do with that.
Instead, this post is about a topic I really should have talked about by now: Zero-Point Energy. Just like perpetual motion, reactionless thrust, and cloud seeding, it is easy to generate believable nonsense about zero-point energy, dressed up in the language of science. I’m going to a bit of a dive into the topic, so put on your diving suit!
To start with, zero-point energy is a real thing. This is going to be super high-level, in part because it’s a complicated topic and in part because it’s been a long time since I took my quantum physics classes. There’s always Wikipedia if you’d like to supplement your understanding.
And in case that isn’t enough to whet your appetite, this all leads up to a federal indictment for fentanyl.
<begin heavy nerd stuff>

by DALL E
Quantum mechanical systems are described in terms of oscillating mathematical functions. Higher-energy states can be described as higher-frequency oscillations, and lower-energy states can be described as lower-frequency oscillations. In quantum mechanics, a particle in a system has some lowest-energy state, where the energy isn’t zero, but it can’t get any lower.
That’s relatively easy to imagine for a particle bouncing around in a box, though your intuition is probably wrong unless you’ve spend some serious time on the subject. But things go distinctly off the rails when we start talking about the energy of empty space.
In quantum field theory, empty space isn’t truly empty. It is defined by a set of overlapping fields which define things like matter and forces. Just like with particles, some of those fields have a non-zero lowest possible energy value. What that means is that, even in a complete vacuum, there is still some energy there, called the zero-point energy.
<end heavy nerd stuff>

By Emok CC BY-SA 3.0
This concept is related to a lot of pop-science buzzwords, like quantum foam and virtual particles. It’s easy to conclude that empty space is itself roiling with activity–energy just waiting to be harvested. And in fact, that experiments show the effects of virtual particles! If you read about the Casimir effect, it’s easy to believe that we’re just a step away from wringing energy out of space itself.

Love that MSPaint aesthetic…
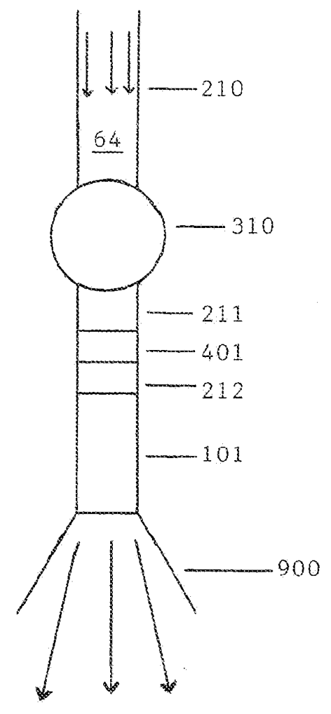
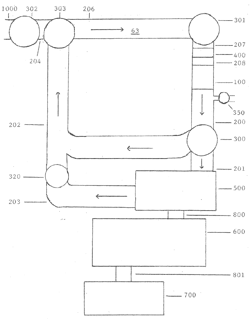
So of course, you get a lot of nonsense patent applications claiming to do just that. For our first foray into zero-point energy, I picked one that is relatively easy to understand: This fluidic zero-point power and propulsion unit application.
I’ll summarize the concept here as a kind of quantum ratchet: The Casimir effect nudges a fluid past a certain point, and you set up the device so that the fluid can’t go backwards once it crosses that point. You set up a loop like that, and the fluid keeps flowing and extracting energy from space itself.
Now, to be clear, that violates the law of conservation of energy. Waving your hands and muttering the words “zero-point energy” doesn’t fix the problem that the energy has to come from somewhere. The whole point of zero-point energy is that there isn’t anything lower than it, so you can’t actually extract it from space. Even in the Casimir effect, where the quantum oscillations of empty space nudge two plates closer together, you’re just extracting potential energy that you put into the system yourself when you set it up.
In other words, zero-point energy extractors are just another kind of perpetual motion machine, dressed up in difficult-to-penetrate quantumese.

So what happened to the patent application? I’m glad you asked! It was rejected, not just on the basis of being nonsense, but because someone else filed the same nonsense a mere three months earlier! We unfortunately never learned what the inventor thought about that, because the Office Action was returned as being undeliverable.
And that’s pretty weird, because the company that owned the application (Shiva Science and Technology Group, LLC) apparently existed for several years past that point, peddling this and other garbage. They seem to be defunct now, but you can still find an archive of their webpage, because nothing is ever truly buried on the internet. So apparently it didn’t bother them one bit that they never heard back about their patent application.
Also fun is that the inventor, Anthony Bressi, of Danville, PA, has a LinkedIn profile where he lists his skills, including Theoretical Physics. He naturally has a number of endorsements for that skill, including a Senior Talent Acquisition agent from Staples and a notary. He also has a number of other dubious patent applications to his name.
And, to top it all off, here’s this article about an Anthony Bressi, of Danville, PA, who was arrested for making and selling fentanyl. Oh, and an Anthony Bressi was convicted in the Middle District of Pennsylvania in 1998 for making meth and was sentenced to about ten years in federal prison. So really, this pseudo-science flim-flammery was just a sideline from his life passion of serving hard time for making hard drugs.
