A graveyard is a peaceful place, presumably by design. The noise and turmoil of the living world are kept at bay to make room for reflection and quietude.
And that peace is apparently an intolerable state to some, who have repeatedly tried to bring video-graves to the market. For example, consider this recently published solar powered digital interactive memorial:

If that isn’t tasteful, I don’t know what is! Per the inventor:
The lack of information presented about the deceased on the cemetery gravestone may be painful for close friends and family because the close friends and family may want other people to know more about the deceased—as to why they were important, and why the deceased will be sincerely missed.
USPP 2022/0261100, ¶3
Because the thing missing from my remembrances is definitely being spammed with information about people I have never met!
I will give them due credit for locking in their branding, however. They actually filed for a trademark for “iTernal,” and here is the specimen they included:

Actually not awful, if you ignore the gigantic logo that is front-and-center. The thing with a trademark specimen is that it’s supposed to show how the mark is actually used in commerce. I can’t imagine they’ll sell a lot of them looking like that.
And oh, they do envision selling a lot of them:

Now, this patent application was filed in 2021 and was only recently published. The 2018 trademark application (and attached specimen) would constitute prior art, even though it was by the applicants themselves, and the failure to disclose it is a serious breach of applicants’ duty to disclose! But that’s probably a moot point, given the abundant prior art on the subject.
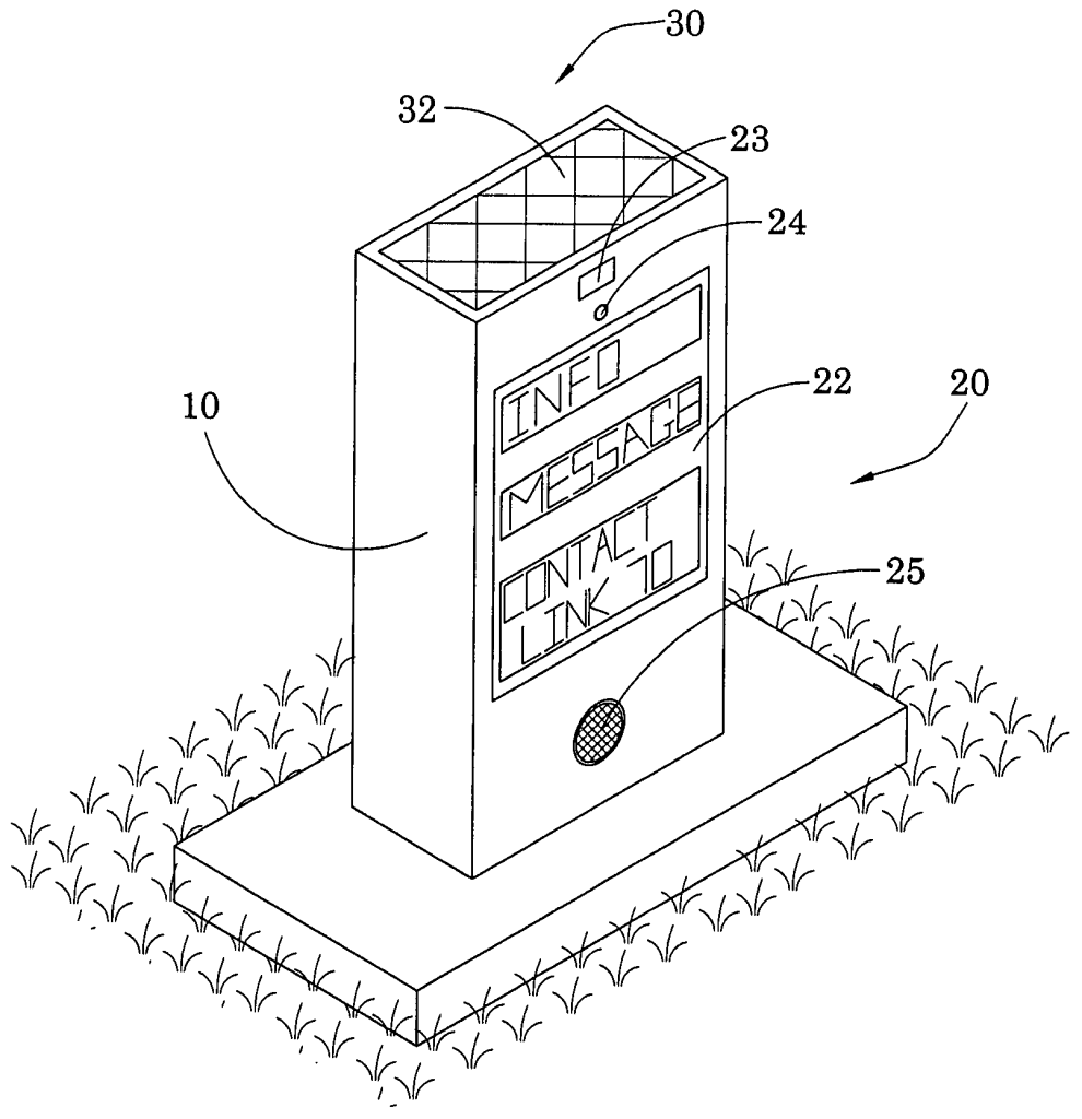
For example, the above application has already received one rejection on the basis of this digital gravestone:

You see, this isn’t exactly a new idea. Bonus points go to the 2010 publication for including a speaker 25, “for audibly performing audio information stored in the digital storage 21 in relation to the deceased person, such as an audio poem, scriptures of a religious being audibly played for the deceased, or the information of the deceased person.” It can even be configured to detect something falling onto the grave and play a short “Thanks for the dono!” See USPP 2010/0307037, ¶53.
Of course, even that patent application was rejected, because an even earlier one got to the idea before them. In particular, this video enhanced gravemarker:

If you’re going to get into graveyard innovation, Barrows is a solid name to work with. I question the wisdom of putting your own birthday on your patent application’s figures, but 2002 was a more innocent time vis a vis identity theft.
Check out the little gnome-house speakers 120! It also comes with a remote control operating wand 130, so you fast-forward to the good parts.
Of course, this is just a small sampling of the obnoxious grave marker patents that are out there. Attention-grabbing monuments are a long tradition among the affluently deceased, so I may revisit the subject next October.
