Eventually I will get to some patents that actually made it through the examination process. But first, check this out:
The Bible Field Enhancer was invented through extensive research and development. It amplified the bible field to a level where you do not have to read any passages in the Bible, just stand in front of it for about 30 minutes. Nearly all patients have felt relief immediately and have been nearly pain free for 1-2 weeks at least with one treatment.
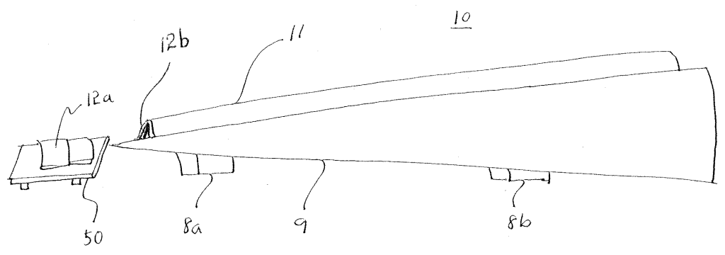
US Pub. 2008/0268409, Paragraph [0005]
The patent was rejected because it “is not supported by either a credible asserted utility or a well established utility.” In the words of the patent examiner, “The concept that the Bible emits a therapeutic or healing field is not a scientific proven or accepted fact.”
While this particular form of “alternative health” did not make it through the Patent Office, others of questionable (or laughable) utility have received their letters patent. In many cases, the ultimate criterion for patentability may not be any of the listed requirements (e.g., utility, novelty, non-obviousness), but may instead come down to persistence and the skill of the applicant in writing their patent application.
In use of the bible field enhancer 10, people expose the part of their body in pain directly in front of the largest cone segment 9 c. The Judeo-Christian bible with the old and new testaments texts written completely in Hebrew is the best. However, most English versions though not as potent are still quite effective. Maps, red print and other commendations cause interference with the Bible field.
US Pub. 2008/0268409, Paragraph [0030]
“O goodness!” I can hear you say, “There’s no way something like that could have been patented.” But I think this application could have been saved! The structure it shows is weird, with a “bible jacket holder 11” that allows the user to line up bibles 12b for increased bible field potency. It’s basically a long, conical bookshelf. I can’t guarantee there wasn’t prior art out there for it, but I wouldn’t be surprised if this really were a genuinely new way to shelve books.

And that’s important, because the invention was only rejected on the basis of the utility requirement, which is a very low bar to clear. If the inventor had described just one non-impossible use for the invention, and kept the “bible field” stuff out of the claims, I think they could have a patent for this… thing.

Cheng seems to have had high expectations for this patent, as he registered a California non-profit in 2007, the Bible Field Humanitarian Foundation, indicating on the filing form that the corporation was intended “to educate the public to the existence and spiritual healing powers of the bible field, support research and development in this area, and provide free treatments to those who cannot afford or not benefited by standard medical care.” As of 2021, it has been labelled as Suspended by the California Franchise Tax Board (FTB).
LikeLike
Excellent sleuthing!
It’s pretty common for crackpot patents to be backed up by crackpot businesses. People seem to have a set of things in their heads for what they need to start a business: A corporation, a website, and a patent. So if you can find one, you can often find the (wreckage of) the other two as well.
LikeLike
I just checked out your site. That is quite the wiki you have there! If you ever want a consult on some patent of interest, let me know!
LikeLike
It is rather a big ball of twine, wires, and other things that have been agglomerated over time and threatens to crush me any day now. I will certainly reach out next time I come across any patent that might be of mutual interest.
LikeLiked by 1 person