As they say, necessity is the mother of invention. But, just as the child may share the appearance and proclivities of the parents, so too does the invention bear the marks of the need that birthed it. So there is a corollary to that rule: Strange needs beget strange inventions.
Someone had a mighty need for a single pristine banana, and so created this: https://patents.google.com/patent/US6612440B1

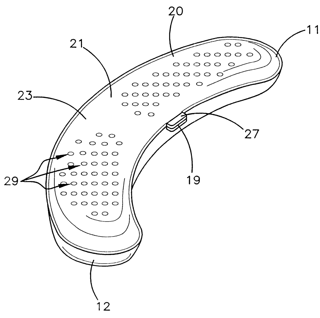
Also makes a great case for your bananaphone.
This baby has all the bells and whistles you could ask for in a bananaguard. It has breathing holes, it has cushioning, it has… well, it has a hinge!

Obviously, there are some challenges here. First, as we all know, bananas vary greatly in size and curvature. Taking a one-size-fits-all approach to banana barriers is going to limit the number of bananas that can actually fit. Second, while this certainly provides more protection than a bare banana would have in a full backpack or lunch box, I question whether the hook-and-loop fastening members 31 are really enough to keep your banana safe.
As for the patent itself, the inventor let it lapse rather than paying the maintenance fees, and it would have expired last year anyway. Even if they had kept it up, though, the claim was so tremendously long and detailed that anyone could have designed around it. Indeed, there are a variety of banana cases on the market now, and have been for many years, as the following affiliate links show:
And there are so many more–bananaguards for every occasion! I don’t have access to the prosecution history, so I can’t say whether the very limited claims were necessary to obtain the patent, but a broader set of claims would have certainly helped stem the tide of competing bananaguardians.
