They say the three happiest days of a man’s life are when he buys a boat, when he gets married, and when he sells the boat. But I think that’s a little old-fashioned. In the modern era, what greater joy could there be for a man than to become a boat? I introduce to you the body sail:

Unbothered. Moisturized. Happy.
In My Lane. Focused. Flourishing.
Just tremendous. Look at that guy’s Joker-grin. In creating this device, the inventor was mindful of the high cost and complexity of boat ownership:
Because of the complexity in structure which is somewhat common to the vast majority of these prior art devices, their initial expense, trouble and cost of operation and maintenance and inefficiency of performance have rendered a large portion of these devices unattractive to the public at large.
USP 3,771,181, col. 1, lns 44-49.
Naturally, the solution was to strap on a bunch of floaties with sails. What could be simpler, cheaper, or more efficient? But there was trouble in paradise–the assembly of floats was not particularly stable. So the inventor came out with the unitary body float!

Not the face of someone
who is having a great time…
Here the inventor noted some faults of the prior art of body-floats-with-sails:
In the field of recreational uses, prior patents have suggested sail propulsion of such body floats, but have lacked adequate anti-capsizing means or have called for multiple floats rather than a single float.
USP 3,902,208, col. 1, lns 14-17.
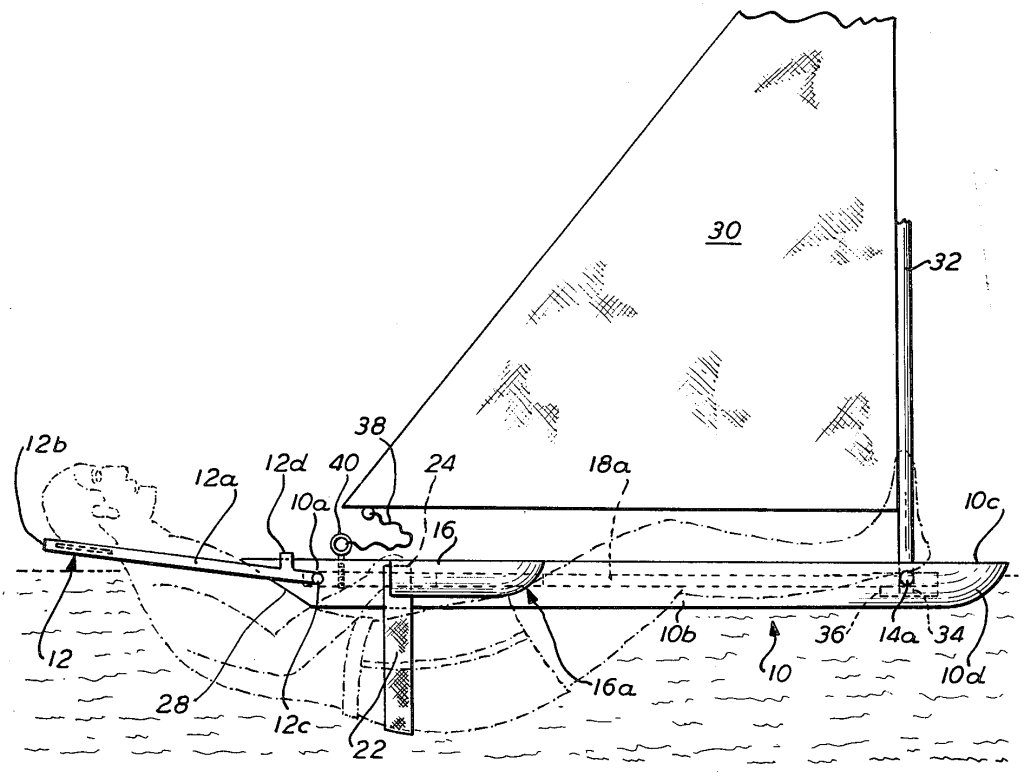
The inventor also solves the lack of visibility by providing a head support. The two small, separated sails are replaced with one huge sail, and the user’s body is supported by a belt, with their head and legs poking out of the water. To prevent capsizing, little floatie wings 16 stick out the side:

Just imagine bring propelled by high winds with your rear end dragging in the water, barely able to see what’s in front of you, hoping your feet don’t lose their grip on the pegs 14. Because if your feet do lose their grip, you’ll immediately be wrenched backwards while your hips are still strapped on underneath the board and your head is held out of the water. W-w-w-w-wipeout!
