With the growing unpredictability of global weather patterns, some regions have experienced extended droughts, while others have faced unremitting rains. For the latter, a simple poncho or rain jacket seems inadequate to the task of staying dry. That’s why it’s a good thing we have this foul weather apparel:

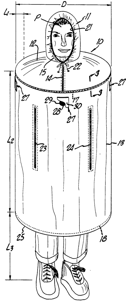
To the untrained eye, this device may resemble a full-body condom. To the trained eye as well, I suppose. But consider the thought and engineering that went into maintaining your circumference of water protection even while sitting down:

This patent issued in 1992 and finally expired in 2009. That means the inventor paid thousands of dollars in maintenance fees to keep it going for the full term. Did they ever sell it? Were they making money on it? Or were they jealously protecting it to keep the rest of us from this pinnacle of dryness? The answers to those questions are lost in time, like tears in rain.
